Low Pressure Second Stage Regulators LV5503B Series  
Features

 

 

 
 
 
File Name:
REGO-LV4403B_LV6503B
File Size: 1.62 MB PDF
REGO LV5503B
 
     
  Features  
 
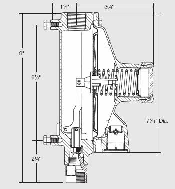
  • Incorporates integral relief valve.
  • With 15 PSIG inlet pressure, regulator is designed to not pass more than 2 PSIG with the seat disc removed.
  • Replaceable valve orifice and valve seat disc.
  • Straight line valve closure saves wear on seat disc and orifice.
  • Built in pressure tap has plugged 1/8" F.NPT outlet. Plug can be removed with a 3/16" hex allen wrench.
  • Large bonnet vent profile minimizes vent freeze over when properly installed.
  • Extra long lever arm for uniform delivery pressure.
  • Large diaphragm is extra sensitive to pressure changes.
 
   
 

Application

 
 
Designed to reduce first stage pressure of 5 to 20 PSIG down to burner pressure,normally 11" w.c. Ideal for larger commercial and industrial applications, multiple cylinder installations and large domestic systems.
 
   
  Rego LV5503B Series  
   
 
 
     
     
  DMC Gas Equipment Limited  
  Unit 11, 11/F, Tower One,
Ever Gain Plaza,
88 Container Port Road,
Kwai Chung, NT, Hong Kong
 
  TEL: +852 2851-2121
FAX: +852 2851-2129
dmcsaleshk@dmc-gas.com.hk
 
     
     
 

Copyright © 2007-2017
DMC Gas Equipment Limited
All Rights Reserved.
| Disclaimer |

DMC New Website CLICK
www.dmc-gas.com